8月29日消息,拼多多在招聘平台上发布了一则引人注目的招聘信息股票配资怎么赚钱,招聘“短剧制片运营”岗位,年薪近50万,负责短剧内容制作,包括选题策划、剧本创作、拍摄及后期制作等。
招聘信息中明确提到,应聘者需具备对短剧流行趋势的敏锐洞察力,能够准确把握用户需求,及时捕捉热点话题,并优先考虑具有各大内容平台影视内容工作经验的候选人。
今年以来,拼多多不断投入短剧业务,2月推出“新版多多有好剧”政策,7月发布“2025年短剧共创计划重磅升级”,提供播放分成、题材开放及成本对投等激励政策。

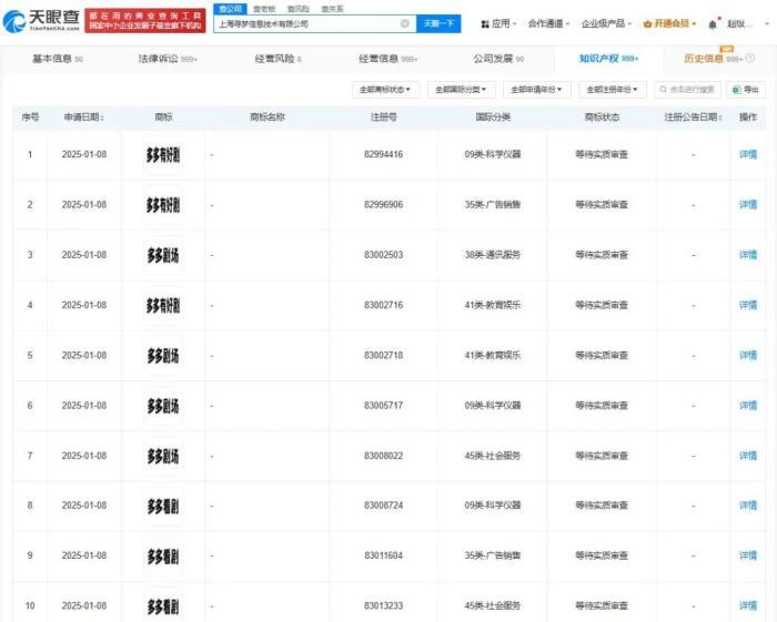
今年2月,拼多多关联公司上海寻梦信息技术有限公司申请注册多枚“多多剧场”、“多多有好剧”、“多多看剧”商标,国际分类涉及教育娱乐、广告销售、科学仪器等,当前商标状态均为等待实质审查。值得注意的是,2024年9月,该公司还申请注册了多枚“多多短剧”商标。


这一系列商标申请显示拼多多正在持续扩展其本地生活服务生态。通过布局内容领域,拼多多试图在短视频和在线娱乐市场中占据一席之地。
事实上,拼多多并非短剧领域的“新手”,而是一位“老玩家”。早在2019年,当短剧市场还处于萌芽阶段时,拼多多就前瞻性地邀请了一批短视频MCN机构入驻平台,为其短剧内容的多元化和丰富性奠定了基础。随着短剧市场的爆发式增长,特别是在2022年至2024年上半年,拼多多进一步提升了短剧在其业务版图中的优先级。例如,2024年4月,拼多多将短剧设置为与多多视频内的“直播”、“关注”、“推荐”等频道并列的独立频道。

(齐鲁晚报·齐鲁壹点客户端编辑 武秀英 综合澎湃新闻、新浪科技、天眼查)股票配资怎么赚钱
富灯网配资提示:文章来自网络,不代表本站观点。